Магазин Товарных Знаков
Стоимость бессрочного размещения объявления о продаже Вашего знака с вашими контактами без комиссии и доплат на одном сайте 2000 руб. Либо мы можем разместить объявление бесплатно с нашими контактами за комиссию в 10% от суммы знака. Бесплатные консультации наших патентных поверенных для продавцов и покупателей. Пишите нам в WhatsApp Telegram или Max телефон для связи+7(995)789-09-00 или на почту info@ptn.su, или в канал в Max https://max.ru/id7716687757_biz . Либо отправьте заявку с сайта (заполнить форму).
Акция - бесплатное размещение за подписку на наш публичный канал в Max https://max.ru/id7716687757_biz, посвященный продаже и покупке знаков. Вы можете связаться с продавцом или покупателем в нашем канале, либо с патентным поверенным для консультаций . Мы можем бесплатно оценить Ваш знак, подобрать МКТУ, подробно объяснить нюансы процесса передачи прав, а также предоставить шаблоны договора и временного разрешения на использование знака в продажах на Маркетплейсах.
Изображение
150 000 руб.
Классы МКТУ: 07,11


Контакты продавца:
Калинин Эдуард Игоревич
+7-968-589-9559
E-mail: keihh@hotmail.com


№1110350
Нет результатов, уточните запрос
Изображение
3 млн. руб.
Классы МКТУ: 25,35,40

Контакты продавца:
Вадим casual123@yandex.ru

№752076
Нет результатов, уточните запрос
Изображение
3 000 000 руб.
Классы МКТУ: 16
Раскрученная торговая марка работающая по всей России и странам СНГ оропроп
по производству и продаже картонной упаковки практически для всех отраслей производства.
К торговой марке прилагается доменное имя: Экокоробки.РФ

Контакты продавца:
Сергей
sergman@list.ru
8-913-913-11-06

№804133
Нет результатов, уточните запрос
Изображение
Договорная.
Классы МКТУ: 25,35


Контакты продавца:

электронная почта avnsto77707@yandex.ru

№899645
Нет результатов, уточните запрос
Изображение
Договорная.
Классы МКТУ: 30
Предлагаю Вашему вниманию уникальную возможность приобрести одну из ведущих и узнаваемых торговых марок на российском рынке кондитерских изделий – "Руслада".
Класс 30 МКТУ (кондитерские изделия), которая является удачным объектом для инвестирования.

1. Общая информация
"Руслада"- это не просто бренд, это гарантия качества, проверенная временем и выбором миллионов потребителей. С 2007 года торговая марка успешно присутствует на рынке Российской Федерации, прочно заняв свою нишу и завоевав лояльность покупателей.
Широкий ассортимент и представленность:
2. Под торговой маркой "Руслада" выпускается
Разнообразная линейка высококачественной кондитерской продукции, отвечающей самым изысканным вкусам:
• Сдобное печенье: классические и оригинальные рецепты, которые стали любимыми для многих.
• Зефир: нежный и воздушный десерт, приготовленный по традиционным технологиям.
• Слоеные изделия и слоеное бездрожжевое тесто: продукция для быстрого и вкусного приготовления дома или на производстве.
• Конфеты: Помадные: тающие во рту, с насыщенными фруктовыми и ягодными начинками. Пралиновые: изысканные, с ореховыми и кремовыми начинками. Карамельные: с разнообразными вкусами и начинками. Конфетные наборы и сладкие новогодние подарки: идеальное решение для праздников и подарков.

Подробнее ознакомиться с продукцией Вы можете с каталогом компании (https://disk.yandex.ru/i/ErA98k0yHzwu1Q)

3. "Руслада" широко представлена во всех ключевых федеральных и региональных торговых сетях Российской Федерации, что обеспечивает высокую узнаваемость бренда и стабильный объем продаж.
Купить продукцию Руслады возможно в:
- Красное&Белое
- Лента
- Дикси
- Пятёрочка
- Монетка
- SPAR
- Магнит
- Светофор
- Ариант
- Магазинах у Вашего дома.

4. Преимущества приобретения торговой марки "Руслада":
Готовый, узнаваемый бренд: Вы получаете не просто название, а полноценный, работающий актив с устоявшейся репутацией и лояльной аудиторией.
Широкий ассортимент продукции- возможность начать производство или расширить текущую линейку продуктов под известным именем.
Налаженные каналы дистрибуции- доступ к существующей сети продаж и партнерским отношениям.
Значительный потенциал для дальнейшего развития: "Руслада" является прекрасной платформой для запуска новых продуктов и расширения географии присутствия.

Приобретение торговой марки "Руслада" – это стратегически выгодное инвестиционное решение, которое позволит Вам мгновенно усилить свои позиции на рынке кондитерских изделий и получить существенное конкурентное преимущество.
Мы готовы предоставить всю необходимую информацию о торговой марке, объёмах продаж, маркетинговых активностях и обсудить условия сделки.
Для получения более подробной информации и организации встречи, пожалуйста, свяжитесь с нами по указанным контактам.
Перечень выпускаемой продукции в Каталоге продукции.

Контакты продавца:
Дарья od@ruslada.ru

№891434
Нет результатов, уточните запрос
Изображение
 50 000 руб. 
Классы МКТУ: 17, 19, 35, 36, 37, 39
Отдельно может быть предана оригинальная технология производства (ноу-хау)и оборудование панелей из гибкого искусственного камня и монолиных строительных облицовочных изделий
brend34@bk.ru
+7 927 535-75-75
Татьяна

№1063814
Изображение
   150 000 руб.
Классы МКТУ: 44, 45
Отличная торговая марка (бренд) для стоматологии, клиники, медицинских и юридических услуг, услуг в области безопасности и социальных услуг (подробнее по ссылке в номере знака).М
Татьяна
№1092896
Изображение
500 000 руб.

Классы МКТУ: 9, 18, 25
Оригинальный,звучный готовый бренд для обуви, одежды, аксессуаров, электроники, софта и много другого
(подробнее по ссылке в номере знака)
tacuba.design@gmail.com
info@ptn.su
№1064456
Изображение
10 000 000 руб
Классы МКТУ: 3, 5, 16, 21, 24, 25, 28, 29, 30, 31, 32, 33, 34, 35, 39, 40, 41, 43
Домены фудок.рф fudok.ru fudok.cn вместе с ООО "Фудок". Идеальный бренд для продвижения сети ритейл с выпуском СТМ
Возможна франшиза или лицензионный договор
panar5555@mail.ru
+7(995)999-21-25
№1059712
Изображение
 1 000 000 руб. 
  за 1 класс
Классы МКТУ: 3, 5, 16, 21, 24, 25, 28, 29, 30, 31, 32, 33, 34, 35, 39, 40, 41, 43
Отличный знак для разных товаров и услуг по приемлемой цене, возможен торг, в зависимости от нужных классов МКТУ (товаров и услуг) Возможна покупка группы товаров внутри класса
Контакты: info@ptn.su
№1089437
Изображение
  300 000 руб.
Классы МКТУ: 30, 35, 43
Товарный знак подойдет под кондитерскую, магазин десертов, онлайн магазин сладостей, магазин на маркетплейсах.
Использовался для продажи кондитерских изделий на маркетплейсах.
Домен babskaya.ru + сайт (на сайте пока стоит заглушка, так как деятельность не ведется)
Разработан брендбук (логотип, фирменный шрифт, цвета, слоганы)
Разработана полиграфия (стикеры, открытки, коробки, шуберы, наклейки)
Марина
+79213954546,
Mbidea021@gmail.com


№988246
Нет результатов, уточните запрос
Изображение
Договорная 
Классы МКТУ: 9 , 35 , 41 , 42
В продаже текстовый знак «АвтоВыбор», который может сопровождаться изобразительным товарным знаком проекта. Товарные знаки подходят для любого автобизнеса.
Проект АвтоВыбор создан для автолюбителей и автовладельцев и уже включает всё необходимое для удобного поиска, выбора и проверки автомобилей.

В комплекте: мобильное приложение с уникальными функциями, сайт, база данных с платежной системой, домены, соцсети. Проект готов к масштабированию и даже выходу на англоязычный рынок — для старта нужен лишь рекламный запуск.
autovyberu@gmail.com
+79171070798
Михаил

№2021713775
Изображение
   Договорная руб.
Классы МКТУ: 9 , 35 , 41 , 42
В продаже текстовый знак «АвтоВыбор», который может сопровождаться изобразительным товарным знаком проекта. Товарные знаки подходят для любого автобизнеса.
Проект АвтоВыбор создан для автолюбителей и автовладельцев и уже включает всё необходимое для удобного поиска, выбора и проверки автомобилей.

В комплекте: мобильное приложение с уникальными функциями, сайт, база данных с платежной системой, домены, соцсети. Проект готов к масштабированию и даже выходу на англоязычный рынок — для старта нужен лишь рекламный запуск.
autovyberu@gmail.com
+79171070798
Михаил

№2021713781
Изображение
500 000 руб.

Классы МКТУ: 9, 18, 25
Оригинальный,звучный готовый бренд для обуви, одежды, аксессуаров, электроники, софта и много другого
(подробнее по ссылке в номере знака)
tacuba.design@gmail.com
info@ptn.su
№1064456
Изображение
10 000 000 руб
Классы МКТУ: 3, 5, 16, 21, 24, 25, 28, 29, 30, 31, 32, 33, 34, 35, 39, 40, 41, 43
Домены фудок.рф fudok.ru fudok.cn вместе с ООО "Фудок". Идеальный бренд для продвижения сети ритейл с выпуском СТМ
Возможна франшиза или лицензионный договор
panar5555@mail.ru
+7(995)999-21-25
№1059712
Изображение
 1 000 000 руб. 
  за 1 класс
Классы МКТУ: 3, 5, 16, 21, 24, 25, 28, 29, 30, 31, 32, 33, 34, 35, 39, 40, 41, 43
Отличный знак для разных товаров и услуг по приемлемой цене, возможен торг, в зависимости от нужных классов МКТУ (товаров и услуг) Возможна покупка группы товаров внутри класса
Контакты: info@ptn.su
№1089437
Изображение
  300 000 руб.
Классы МКТУ: 30, 35, 43
Товарный знак подойдет под кондитерскую, магазин десертов, онлайн магазин сладостей, магазин на маркетплейсах.
Использовался для продажи кондитерских изделий на маркетплейсах.
Домен babskaya.ru + сайт (на сайте пока стоит заглушка, так как деятельность не ведется)
Разработан брендбук (логотип, фирменный шрифт, цвета, слоганы)
Разработана полиграфия (стикеры, открытки, коробки, шуберы, наклейки)
Марина
+79213954546,
Mbidea021@gmail.com


№988246
Нет результатов, уточните запрос
Изображение
Договорная.
Классы МКТУ: 30
Предлагаю Вашему вниманию уникальную возможность приобрести одну из ведущих и узнаваемых торговых марок на российском рынке кондитерских изделий – "Руслада".
Класс 30 МКТУ (кондитерские изделия), которая является удачным объектом для инвестирования.

1. Общая информация
"Руслада"- это не просто бренд, это гарантия качества, проверенная временем и выбором миллионов потребителей. С 2007 года торговая марка успешно присутствует на рынке Российской Федерации, прочно заняв свою нишу и завоевав лояльность покупателей.
Широкий ассортимент и представленность:
2. Под торговой маркой "Руслада" выпускается
Разнообразная линейка высококачественной кондитерской продукции, отвечающей самым изысканным вкусам:
• Сдобное печенье: классические и оригинальные рецепты, которые стали любимыми для многих.
• Зефир: нежный и воздушный десерт, приготовленный по традиционным технологиям.
• Слоеные изделия и слоеное бездрожжевое тесто: продукция для быстрого и вкусного приготовления дома или на производстве.
• Конфеты: Помадные: тающие во рту, с насыщенными фруктовыми и ягодными начинками. Пралиновые: изысканные, с ореховыми и кремовыми начинками. Карамельные: с разнообразными вкусами и начинками. Конфетные наборы и сладкие новогодние подарки: идеальное решение для праздников и подарков.

Подробнее ознакомиться с продукцией Вы можете с каталогом компании (https://disk.yandex.ru/i/ErA98k0yHzwu1Q)

3. "Руслада" широко представлена во всех ключевых федеральных и региональных торговых сетях Российской Федерации, что обеспечивает высокую узнаваемость бренда и стабильный объем продаж.
Купить продукцию Руслады возможно в:
- Красное&Белое
- Лента
- Дикси
- Пятёрочка
- Монетка
- SPAR
- Магнит
- Светофор
- Ариант
- Магазинах у Вашего дома.

4. Преимущества приобретения торговой марки "Руслада":
Готовый, узнаваемый бренд: Вы получаете не просто название, а полноценный, работающий актив с устоявшейся репутацией и лояльной аудиторией.
Широкий ассортимент продукции- возможность начать производство или расширить текущую линейку продуктов под известным именем.
Налаженные каналы дистрибуции- доступ к существующей сети продаж и партнерским отношениям.
Значительный потенциал для дальнейшего развития: "Руслада" является прекрасной платформой для запуска новых продуктов и расширения географии присутствия.

Приобретение торговой марки "Руслада" – это стратегически выгодное инвестиционное решение, которое позволит Вам мгновенно усилить свои позиции на рынке кондитерских изделий и получить существенное конкурентное преимущество.
Мы готовы предоставить всю необходимую информацию о торговой марке, объёмах продаж, маркетинговых активностях и обсудить условия сделки.
Для получения более подробной информации и организации встречи, пожалуйста, свяжитесь с нами по указанным контактам.
Перечень выпускаемой продукции в Каталоге продукции.

Контакты продавца:
Дарья od@ruslada.ru

№891434
Нет результатов, уточните запрос
Изображение
5 500 000 руб.
03,05
классы МКТУ товарного знака

Контакты продавца
+7 903 898 98 63

Tanya-RIA@yandex.ru

№1008989
Нет результатов, уточните запрос
Изображение
1 500 000 руб.
03,05
классы МКТУ товарного знака

Макеты: логобук, логотип, дизайны визуализации товара.
Оплата б/н, на ООО

Контакты продавца
+7 903 898 98 63

Tanya-RIA@yandex.ru



№1008722
Нет результатов, уточните запрос
Изображение
Договорная
07,09
классы МКТУ товарного знака

Контакты продавца
+79266448737 Елена


№964936
Нет результатов, уточните запрос
Изображение
4 000 000 руб.
32, 35, 43
классы МКТУ товарного знака

Контакты продавца
89167512373


№721204
Нет результатов, уточните запрос
Изображение
1 000 000 руб.
14, 15, 18, 24, 25, 28,44
классы МКТУ товарного знака

Контакты продавца
89850808789 my_news@mail.ru
Татьяна



№2023816902
Нет результатов, уточните запрос
Изображение
550 000 руб.
03,05, 15, 18, 19, 20, 21,25,27, 28,
35, 41, 43, 45
классы МКТУ товарного знака

Контакты продавца
89850808789 my_news@mail.ru
Татьяна



№1037055
Нет результатов, уточните запрос
Изображение
450 000 руб.
03,05, 18, 25, 35, 41, 43, 44
классы МКТУ товарного знака

Контакты продавца
89850808789 my_news@mail.ru
Татьяна

№972243
Нет результатов, уточните запрос
Изображение
Договорная
20,42
классы МКТУ товарного знака

Контакты продавца
WhatsApp/ telegram +7 923 469 70 47
umka007@mail.ru



№1034778
Нет результатов, уточните запрос
Изображение
7 000 000 руб.
09,35
классы МКТУ товарного знака

Контакты продавца
89690102940

7639352@gmail.com



№875951
Нет результатов, уточните запрос
Изображение
Договорная
35
классы МКТУ товарного знака

Контакты продавца
89859383872 Николай

info@ptn.su


№814570
Нет результатов, уточните запрос
Изображение
5 000 000 руб.
29, 30, 31, 32,35
классы МКТУ товарного знака

Контакты продавца
89859383872 Николай

info@ptn.su


№ 938177
Нет результатов, уточните запрос
Изображение
25 000 000 руб.
03,08,42,44
классы МКТУ товарного знака

Контакты продавца
89991787525 Татьяна

Wlastati@yandex.ru

№706401
Нет результатов, уточните запрос
Изображение
150 тыс.руб
35, 36, 37, 42
классы МКТУ товарного знака

Контакты продавца
+79232718188 Евгения
sales@pravdom24.ru

№989030
Нет результатов, уточните запрос
Изображение
150 тыс.руб
18,25,35
классы МКТУ товарного знака

Контакты продавца
тел.89104607555
№934235
Нет результатов, уточните запрос
Изображение
100 тыс.руб
03, 35
классы МКТУ товарного знака

Контакты продавца
№934866
Нет результатов, уточните запрос
Изображение
Цена 60-250 тыс.руб
05, 11, 29, 30, 31, 32, 33, 35, 43
классы МКТУ товарного знака
Контакты продавца

email:sale@marks.ru
тел:8 925 771 01 96
№286809
Нет результатов, уточните запрос
Изображение
Цена 60-250 тыс.руб
05, 28, 35, 42
классы МКТУ товарного знака
Контакты продавца

email:sale@marks.ru
тел:8 925 771 01 96
№218331
Нет результатов, уточните запрос
Изображение
Цена 60-250 тыс.руб
05, 20,21, 31, 32, 33, 34, 35,
36, 37, 38, 39, 43
классы МКТУ товарного знака
Контакты продавца

email:sale@marks.ru
тел:8 925 771 01 96
№266093
Нет результатов, уточните запрос
Изображение
Цена 60-250 тыс.руб
03, 05, 08, 10, 12, 13, 25, 29,
30,31, 32, 34, 35, 43
классы МКТУ товарного знака
Контакты продавца

email:sale@marks.ru
тел:8 925 771 01 96
№266091
Нет результатов, уточните запрос
Изображение
Цена 60-250 тыс.руб
35, 37, 38, 42
классы МКТУ товарного знака
Контакты продавца

email:sale@marks.ru
тел:8 925 771 01 96
№218683
Нет результатов, уточните запрос
Изображение
Цена 60-250 тыс.руб
35, 37, 38, 42
классы МКТУ товарного знака
Контакты продавца

email:sale@marks.ru
тел:8 925 771 01 96
№182096
Нет результатов, уточните запрос
Изображение
Цена 60-250 тыс.руб
17, 19, 20, 25, 27, 37
классы МКТУ товарного знака
Контакты продавца

email:sale@marks.ru
тел:8 925 771 01 96
№277080
Нет результатов, уточните запрос
Изображение
Цена 60-250 тыс.руб
31, 42
классы МКТУ товарного знака
Контакты продавца

email:sale@marks.ru
тел:8 925 771 01 96
№ 209775
Нет результатов, уточните запрос
Изображение
Цена 60-250 тыс.руб
29, 31, 32, 35, 42
классы МКТУ товарного знака
Контакты продавца

email:sale@marks.ru
тел:8 925 771 01 96
№235172
Нет результатов, уточните запрос
Изображение
Цена 60-250 тыс.руб
03, 07, 13, 35
классы МКТУ товарного знака
Контакты продавца

email:sale@marks.ru
тел:8 925 771 01 96
№245227
Нет результатов, уточните запрос
Изображение
Цена 60-250 тыс.руб
19, 29, 31, 39, 40
классы МКТУ товарного знака
Контакты продавца

email:sale@marks.ru
тел:8 925 771 01 96
№218679
Нет результатов, уточните запрос
Изображение
Цена 160 тыс.руб
02, 32
классы МКТУ товарного знака
Контакты продавца
iprogem@yandex.ru
+7 (953) 147-10-83
Елена
№902590
Нет результатов, уточните запрос
Изображение
Цена 60-250 тыс.руб
03, 05, 06, 07, 08, 09, 12, 19,
21, 29, 30, 37, 42
классы МКТУ товарного знака
Контакты продавца
email:sale@marks.ru
тел:8 925 771 01 96
№770607
Нет результатов, уточните запрос
Изображение
Цена 60-250 тыс.руб
06, 08, 19, 21, 25, 29, 30, 33
классы МКТУ товарного знака
Контакты продавца
email:sale@marks.ru
тел:8 925 771 01 96
№770606
Нет результатов, уточните запрос
Изображение
Цена 60-250 тыс.руб
05, 08, 25, 30, 33
классы МКТУ товарного знака
Контакты продавца

email:sale@marks.ru
тел:8 925 771 01 96
№797987
Нет результатов, уточните запрос
Изображение
Цена 60-250 тыс.руб
07, 08, 18, 44
классы МКТУ товарного знака
Контакты продавца
email:sale@marks.ru
тел:8 925 771 01 96
№783607
Нет результатов, уточните запрос
Изображение
Цена 60-250 тыс.руб
03, 06, 08, 09, 12, 16, 18, 19,
21, 24, 30, 44
классы МКТУ товарного знака
Контакты продавца

email:sale@marks.ru
тел:8 925 771 01 96
№789157
Нет результатов, уточните запрос
Изображение
Цена 125-390 тыс.руб
02, 03, 05, 06 , 08, 12, 17,21, 24, 32
классы МКТУ товарного знака
Контакты продавца

email:sale@marks.ru
тел:8 925 771 01 96
№855407
Нет результатов, уточните запрос
Изображение
Цена 125-390 тыс.руб
03, 05, 08, 10,11, 12, 16, 17, 19, 21
классы МКТУ товарного знака
Контакты продавца

email:sale@marks.ru
тел:8 925 771 01 96
№902037
Нет результатов, уточните запрос
Изображение
Цена 100 тыс.руб
11, 21
классы МКТУ товарного знака
Контакты продавца
Марина
email: pant555@yandex.ru.,
тел: +7 (903) 011-40-11
№548274
Нет результатов, уточните запрос
Изображение
Цена 100 тыс.руб
11, 21, 35
классы МКТУ товарного знака
Контакты продавца
Марина
email: pant555@yandex.ru.,
тел: +7 (903) 011-40-11
№540837
Нет результатов, уточните запрос
Изображение
Цена договорная
32, 33, 35
классы МКТУ товарного знака
Контакты продавца
email: nagoi@inbox.ru
тел: 8-989-851-88-88
№671853
Нет результатов, уточните запрос
Изображение
Цена 100-350 тыс.руб
07, 08, 17, 18, 25, 28
классы МКТУ товарного знака
Контакты продавца
Иван
email: 0114011@mail.ru
тел: +7 (903) 011-40-11
№934651
Нет результатов, уточните запрос
Изображение
Цена 210 тыс.руб
3, 35
классы МКТУ товарного знака
Контакты продавца
Иван
email: 0114011@mail.ru
тел: +7 (903) 011-40-11
Иван
№903003
Изображение
Цена 130-150 тыс.руб за классы
03, 07, 09, 34
классы МКТУ товарного знака

Контакты продавца
Иван
email: 0114011@mail.ru
тел: +7 (903) 011-40-11
№949814
Нет результатов, уточните запрос
Изображение
Цена 120-150 тыс.руб
07, 09, 11, 27, 34
классы МКТУ товарного знака

Контакты продавца
Иван
email: 0114011@mail.ru
тел: +7 (903) 011-40-11
№927116
Изображение
Цена 125-380 тыс.руб
09, 10, 14, 21, 34
классы МКТУ товарного знака

Контакты продавца
Иван
email: 0114011@mail.ru
тел: +7 (903) 011-40-11
№894322
Изображение
Цена 120-140 тыс.руб
03, 12, 34
классы МКТУ товарного знака

Контакты продавца
Иван
email: 0114011@mail.ru
тел: +7 (903) 011-40-11
№891303
Изображение
Цена 300 тыс.руб
18, 25
классы МКТУ товарного знака

Контакты продавца
Иван
email: 0114011@mail.ru
тел: +7 (903) 011-40-11
№908124
Нет результатов, уточните запрос
Изображение
Цена 140 тыс.руб за класс
03, 10, 11, 21, 24, 43
классы МКТУ товарного знака

Контакты продавца
Иван
email: 0114011@mail.ru
тел: +7 (903) 011-40-11
№869750
Изображение
Цена 150-350 тыс.руб
01, 03, 05, 09, 11, 25
классы МКТУ товарного знака

Контакты продавца
Иван
email: 0114011@mail.ru
тел: +7 (903) 011-40-11
№877583
Изображение
Цена 150 тыс.руб
05, 10, 11
классы МКТУ товарного знака

Контакты продавца
Иван
email: 0114011@mail.ru
тел: +7 (903) 011-40-11
№862510
Изображение
Цена 120 тыс.руб
05, 12, 14, 34
классы МКТУ товарного знака
Контакты продавца
Иван
email: 0114011@mail.ru
тел: +7 (903) 011-40-11
№871696
Нет результатов, уточните запрос
Изображение
Цена 180 тыс.руб
02, 06, 07, 12, 13, 18, 40, 44, 45
классы МКТУ товарного знака
Контакты продавца
email: tm@rinevis.ru
тел: +7(981)834-62-72
№884336
Нет результатов, уточните запрос
Изображение
Цена 180 тыс.руб
01, 02,04, 07, 08, 10, 12,
13, 14, 15, 17, 19,20, 22, 23,
24, 26, 27, 28, 32, 33, 34, 37, 38, 39,
41, 43, 45
классы МКТУ товарного знака
Контакты продавца
email: tm@rinevis.ru
тел: +7(981)834-62-72
№934222
Нет результатов, уточните запрос
Изображение
Цена 180 тыс.руб
04, 08, 11, 13, 15, 22, 23, 29,
30,31,32, 33, 34, 36, 38, 41, 43,
44, 45
классы МКТУ товарного знака
Контакты продавца
email: tm@rinevis.ru
тел: +7(981)834-62-72
№888892
Нет результатов, уточните запрос
Изображение
Цена 180 тыс.руб
01, 02, 04, 06, 07, 09, 11, 12, 13, 14,
15, 17, 18, 19, 20, 22, 23, 24, 26, 27,
28, 29, 31, 32, 33, 34, 38, 40, 42
классы МКТУ товарного знака
Контакты продавца
email: tm@rinevis.ru
тел: +7(981)834-62-72
№945875
Нет результатов, уточните запрос
Изображение
Цена 180 тыс.руб
01, 02, 03, 04, 08, 10, 14, 15, 18,
20,21, 22, 23, 26, 27, 28, 29,30,
31, 32, 33, 36, 38, 39, 44
классы МКТУ товарного знака
Контакты продавца
email: tm@rinevis.ru
тел: +7(981)834-62-72
№857055
Нет результатов, уточните запрос
Изображение
Цена 180 тыс.руб
02, 13, 15, 18, 19, 22, 23, 26, 27,
28, 29,30,31, 32, 33, 34, 38, 39,
43, 44
классы МКТУ товарного знака
Контакты продавца
email: tm@rinevis.ru
тел: +7(981)834-62-72
№857592
Нет результатов, уточните запрос
Изображение
Цена 180 тыс.руб
03, 05, 10, 11, 21, 35,
41, 42, 44
классы МКТУ товарного знака
Контакты продавца
email: tm@rinevis.ru
тел: +7(981)834-62-72
№675803
Изображение
Цена 150 тыс.руб
05, 11, 21, 35, 41, 42, 44
классы МКТУ товарного знака
Контакты продавца
email: tm@rinevis.ru
тел: +7(981)834-62-72
№709020
Изображение
Цена 180 тыс.руб
01, 02, 10, 15, 23, 26, 34, 40, 45
классы МКТУ товарного знака
Контакты продавца
email: tm@rinevis.ru
тел: +7(981)834-62-72
№933086
Нет результатов, уточните запрос
Изображение
Цена 180 тыс.руб
04, 05, 08, 09, 10,11, 13, 14, 15,
16, 18, 21, 22, 23, 24, 26, 27, 28,
31, 32, 34, 38, 39, 40, 41,42, 44
классы МКТУ товарного знака
Контакты продавца
email: tm@rinevis.ru
тел: +7(981)834-62-72
№943385
Изображение
Цена 180 тыс.руб
01, 02, 04, 06, 08, 10, 13, 14, 15,
19, 26, 36, 38, 40, 42, 45
классы МКТУ товарного знака
Контакты продавца
email: tm@rinevis.ru
тел: +7(981)834-62-72
№933086
Изображение
Цена 200 тыс.руб
01, 02, 04, 05, 07, 08,10,11,
12, 13, 17,20, 22, 23, 26, 27,
28, 29,30,31,32, 33, 39,40,
41,42,44
классы МКТУ товарного знака
Контакты продавца
email: tm@rinevis.ru
тел: +7(981)834-62-72
№668517
Изображение
Цена 180 тыс.руб
06, 10, 11, 12, 13, 14, 15, 16, 18, 19, 20,
22, 23, 24, 26, 27, 28, 31, 32, 33, 34, 35,36,
37, 38, 39, 40, 41, 42, 43, 44, 45
классы МКТУ товарного знака
Контакты продавца
email: tm@rinevis.ru
тел: +7(981)834-62-72
№953352
Нет результатов, уточните запрос
Изображение
Цена 180 тыс.руб
01, 02, 03, 04, 05, 06, 07, 08, 13, 15, 17, 19, 21, 22, 23, 24, 26, 27, 28, 37, 40, 45
классы МКТУ товарного знака
Контакты продавца
email: tm@rinevis.ru
тел: +7(981)834-62-72
№945883
Нет результатов, уточните запрос
Изображение
Цена 150руб. тыс.руб
02, 04, 06, 08, 10,13, 14, 15,
16, 18, 22, 23, 24, 26, 27, 28, 29,
30,31, 32, 33, 34, 38, 39, 40, 41,
43, 44, 45
классы МКТУ

Контакты продавца
email: tm@rinevis.ru
тел: +7(981)834-62-72

№866757
Нет результатов, уточните запрос
Изображение
Цена 150 000.тыс.руб
01, 04, 05, 06,07, 08, 10, 12,
13, 14, 15, 16, 17, 19,21, 22, 23,
24, 26, 28, 34,36, 37, 38, 39,
40, 41, 42, 43, 45
классы МКТУ товарного знака
Контакты продавца
email: tm@rinevis.ru
тел: +7(981)834-62-72
№904955
Нет результатов, уточните запрос
Изображение
Цена 150 тыс.руб
01, 02, 04, 07, 08, 12, 13, 15,
17, 19, 20, 21, 22, 23, 24, 26, 27,
31, 36, 39
классы МКТУ товарного знака
Контакты продавца
email: tm@rinevis.ru
тел: +7(981)834-62-72
№906708
Нет результатов, уточните запрос
Изображение
Цена 180 тыс.руб
01, 02, 03, 04, 05, 08, 09, 10,11,
13, 14, 15, 16, 19, 21, 23, 26, 27,
29, 30,31, 32, 33, 34, 35, 38, 39,
40, 41, 42, 43, 44, 45
классы МКТУ товарного знака
Контакты продавца
email: tm@rinevis.ru
тел: +7(981)834-62-72
№846693
Нет результатов, уточните запрос
Изображение
Цена 180тыс.руб
13, 14, 15, 16, 17, 22, 23, 24, 26, 27,
28, 31, 34, 43, 44, 45
классы МКТУ товарного знака
Контакты продавца
email: tm@rinevis.ru
тел: +7(981)834-62-72
№846087
Нет результатов, уточните запрос
Изображение
Цена 180тыс.руб
01, 02, 04, 05, 06, 10, 13,
15,17, 19, 22, 23, 24, 26, 27, 29,
30,31,32, 34, 43, 44, 45
классы МКТУ товарного знака
Контакты продавца
email: tm@rinevis.ru
тел: +7(981)834-62-72
№862381
Нет результатов, уточните запрос
Изображение
Цена 180 тыс.руб
03, 02, 04, 06, 07, 08, 10, 11, 12,
13, 14, 15, 17, 22, 23, 24, 27, 29,
30, 32, 33, 36, 37, 39, 43, 44, 45
классы МКТУ товарного знака
Контакты продавца
email: tm@rinevis.ru
тел: +7(981)834-62-72
№903258
Нет результатов, уточните запрос
Изображение
Цена 150 тыс.руб
04, 06, 07, 13, 15, 16, 17, 22, 23,
24, 27, 29, 30,31,36, 38, 40, 43,
44
классы МКТУ товарного знака
Контакты продавца
email: tm@rinevis.ru
тел: +7(981)834-62-72
№874915
Нет результатов, уточните запрос
Изображение
Цена 150 тыс.руб
01, 02, 06, 08, 10, 13, 15, 16, 17,
19,22, 23, 24, 26, 27, 28, 29,30,31,
32, 33, 37, 38, 39, 40, 41, 44
классы МКТУ товарного знака
Контакты продавца
email: tm@rinevis.ru
тел: +7(981)834-62-72
№906596
Нет результатов, уточните запрос
Изображение
Цена 180 тыс.руб
01, 02, 07, 13, 15, 18, 26,
28, 29, 30, 31, 32, 34, 38, 43
классы МКТУ товарного знака
Контакты продавца
email: tm@rinevis.ru
тел: +7(981)834-62-72
№926754
Нет результатов, уточните запрос
Изображение
Цена 150 тыс.руб
05, 13,15, 18 , 19, 23, 26, 27, 28,
31, 36, 38, 40 , 45
классы МКТУ товарного знака
Контакты продавца
email: tm@rinevis.ru
тел: +7(981)834-62-72
№919273
Нет результатов, уточните запрос
Изображение
Цена 180 тыс.руб
02, 03, 06, 08, 10, 11, 12, 13,
14, 15, 20, 21, 22, 23,
24, 26, 27, 28, 31, 33, 34, 38,
40, 41, 44
классы МКТУ товарного знака
Контакты продавца
email: tm@rinevis.ru
тел: +7(981)834-62-72
№865656
Нет результатов, уточните запрос
Изображение
Цена 320 тыс.руб
01, 02, 03, 04, 05, 06, 07, 08, 09, 10, 11, 12,13, 16, 17, 18, 19, 20, 22, 23, 24, 25,
26, 27, 28, 29, 31, 34, 35, 36, 37,
38, 39, 40, 41, 42, 43, 44, 45
классы МКТУ товарного знака
Контакты продавца
email: tm@rinevis.ru
тел: +7(981)834-62-72
№932495
Нет результатов, уточните запрос
Изображение
Цена 180 000 тыс.руб
02, 04, 06, 07, 08, 09, 11, 12, 13,
14, 15, 16, 17,18, 19, 20, 21, 22, 23,
24, 26, 27, 28, 30,31, 32, 33,
35, 36, 37, 38, 39, 40, 43, 45
классы МКТУ товарного знака
Контакты продавца
email: tm@rinevis.ru
тел: +7(981)834-62-72

№882724
Нет результатов, уточните запрос
Изображение
Цена 160 000 руб
Классы МКТУ 10, 11, 25

Товарный знак "ALCEDO


Контакты:
Елена Чайковская
+7 953 147-10-83
sales@iprogem.com


Ссылка на публикацию на сайте ФИПС Роспатента в номере знака ниже
№ 910547
Нет результатов, уточните запрос
Изображение
Цена договорная
Классы МКТУ 29, 30, 35, 43


Товарный знак "Кашехлебов"


Контакты:
Наталья 89039552517,
rnv@inbox.ru



Ссылка на публикацию на сайте ФИПС Роспатента в номере знака ниже
№ 637277
Изображение
Цена договорная
Классы МКТУ: 03, 14, 25, 30, 35, 41, 43, 44

Товарный знак "Глижен"


Контакты:
Наталья 89039552517,
rnv@inbox.ru


Ссылка на публикацию на сайте ФИПС Роспатента в номере знака ниже
№ 517313
Изображение
Цена договорная
Классы МКТУ: 32, 33, 35, 43

Товарный знак "CESARKA-ЦЕСАРКА"


Контакты:
Наталья 89039552517,
rnv@inbox.ru

Ссылка на публикацию на сайте ФИПС Роспатента в номере знака ниже
№ 483578
Изображение
Цена 160 000 руб
Классы МКТУ: 2, 10, 11, 28, 31

Товарный знак "ALBEMAR"


Контакты:
Елена Чайковская
+7 953 147-10-83
sales@iprogem.com

Ссылка на публикацию на сайте ФИПС Роспатента в номере знака ниже
№ 900979
Нет результатов, уточните запрос
Изображение
Цена 160 000 руб
Классы МКТУ 1, 2, 3, 4, 10, 11


Товарный знак "TASKER"


Контакты:
Елена Чайковская
+7 953 147-10-83
sales@iprogem.com


Ссылка на публикацию на сайте ФИПС Роспатента в номере знака ниже
№ 905646
Изображение
Цена 160 000 руб
Классы МКТУ: 1, 4 ,6, 11, 17, 19

Товарный знак "RUNPLER"


Контакты:
Елена Чайковская
+7 953 147-10-83
sales@iprogem.com

Ссылка на публикацию на сайте ФИПС Роспатента в номере знака ниже
№ 907287
Изображение
Цена 160 000 руб
Классы МКТУ: 2, 28, 32

Товарный знак "LUMPA"


Контакты:
Елена Чайковская
+7 953 147-10-83
sales@iprogem.com


Ссылка на публикацию на сайте ФИПС Роспатента в номере знака ниже
№ 902590
Изображение
Цена 160 000 руб
Классы МКТУ: 2, 10, 11, 28, 31

Товарный знак "ALBEMAR"


Контакты:
Елена Чайковская
+7 953 147-10-83
sales@iprogem.com

Ссылка на публикацию на сайте ФИПС Роспатента в номере знака ниже
№ 900979
Нет результатов, уточните запрос
Изображение
Цена 150 000 руб
класс МКТУ:35,43

Товарный знак "DARK RABBIT"


Контакты:
email: boonka4@gmail.com
Тел:89235063280
Михаил


Ссылка на публикацию на сайте ФИПС Роспатента в номере знака ниже
№ 807885
Нет результатов, уточните запрос
Изображение
Цена 19 000 000 млн. руб
класс МКТУ:03,32,33,41

Товарный знак "FLEREGBO"
доменные имена:

fleregbo.com

fleregbo.online

fleregbo.ru


Контакты:
email: fleregbo@mail.ru
sergey.rom@inbox.ru


Ссылка на публикацию на сайте ФИПС Роспатента в номере знака ниже
№ 856803
Изображение
Цена Договорная
классы МКТУ: 30, 31, 35, 39, 43

Товарный знак "Чашечкоф" для еды, торговли, путешествий, кафе, баров, ресторанов и многого другого.

email:
namez.pro@mail.ru
тел: +79270409999

Ссылка на публикацию на сайте ФИПС Роспатента в номере знака ниже
№2021773131
Нет результатов, уточните запрос
Изображение
Цена 33 млн.руб
06,35,37
классы МКТУ


Александр
email: stroiti-gk@mail.ru
тел: +7(903)632-69-81

№667260
Нет результатов, уточните запрос
Изображение
Цена 5 млн.руб
36,37
классы МКТУ


Валерий
email: nve44@mail.ru
тел: +7 (910) 374-55-55

№866757
Нет результатов, уточните запрос
Изображение
Цена 100-350 тыс.руб
07, 08, 17, 18, 25, 28
классы МКТУ товарного знака
Контакты продавца
Иван
email: 0114011@mail.ru
тел: +7 (903) 011-40-11
№934651
Нет результатов, уточните запрос
Изображение
Цена договорная.
30, 32, 33, 34, 41, 42
классы МКТУ

Телефон: +7 (910) 444-57-70
Эл.почта : info.freelaw@gmail.com
№220388
Изображение
Цена договорная.

классы МКТУ
Телефон: +7 (910) 444-57-70
Эл.почта : info.freelaw@gmail.com
№462608
Изображение
Цена договорная.
43
классы МКТУ
Телефон: 8 910 444 57 70
Эл.почта : info.freelaw@gmail.com
№622061
Нет результатов, уточните запрос
Изображение
Цена 200 000  руб.
01,02,03,05,06,07,08,10,11,13,14,15,19,20,22,23,24,26,,29,30,31,32,33,34,40,43,44,45
классы МКТУ


Илья
email: tm@rinevis.ru
тел: 8-981-834-62-72

№867809
Нет результатов, уточните запрос
Изображение
Цена 200 000  руб. за класс
02,03,06,07,08,09,10,11,12,13,14,15,16,17,18,19,20,21,22,23,24,25,26,27,28,31,33,34,38,40,41,43,44
классы МКТУ

Доступные доменные
Velirus.ru Velirus.com
Илья
email: tm@rinevis.ru
тел: 8-981-834-62-72

№865656
Нет результатов, уточните запрос
Изображение
Цена 150 000  руб.
01,02,03,04,05,06,07,08,09,10,11,13,14,15,17,18,22,23,24,25,26,27,28,33,34,35,37,39,40,41,42,43,44,45
классы МКТУ

Доступные доменные имена
avinda.org
Илья
email: tm@rinevis.ru
тел: 8-981-834-62-72

№675806
Нет результатов, уточните запрос
Изображение
Цена 150 000  руб.
05,09(часть),10,11,35,
41,42,44
классы МКТУ

Илья
email: tm@rinevis.ru
тел: 8-981-834-62-72

№676151
Нет результатов, уточните запрос
Изображение
Цена 150 000  руб.
05,09,11,21,35,41,42,44
классы МКТУ

Илья
email: tm@rinevis.ru
тел: 8-981-834-62-72

№709020
Нет результатов, уточните запрос
Изображение
Цена 150 000  руб.
03,05,09(часть),10,11,
21,35,41,42,44
классы МКТУ

Илья
email: tm@rinevis.ru
тел: 8-981-834-62-72

№675803
Нет результатов, уточните запрос
Изображение
Цена 100 000  руб.
02,13,15,18,19,22,23,26,27,28,29,30,31,32,33,34,38,39,43,44
классы МКТУ

Доступные доменные имена
Emedson.ru Emedson.com
Илья
email: tm@rinevis.ru
тел: 8-981-834-62-72
№857592
Нет результатов, уточните запрос
Изображение
Цена Договорная 
Тренажер верхних конечностей
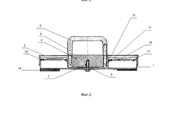
(Патент на полезную модель РФ)
Полезная модель относится к спортивному оборудованию и предназначена для укрепления и развития силы мышц пояса верхних конечностей (плечевого пояса) спортсменов. Техническим результатом полезной модели является повышение эффективности тренировки мышц за счет общей конструкции тренажера и ремонтопригодности. Устройство представляет собой упор для отжиманий и включает корпус, состоящий из основания и крышки, ручку, устройство амортизации, платформу, расположенную внутри корпуса на основании с возможностью вращения относительно него и соединенную с ручкой, при этом устройство амортизации связано с платформой и основанием.Текст
№191938
Нет результатов, уточните запрос
Изображение
Цена 150 000  руб.
01, 02, 03, 04, 08,10, 14, 15,18,20,21,22,23,26,27,28,29,30,31,32,33,34,36,38,39, 44
классы МКТУ

Доступные доменные имена
Rinevis.ru Rinevis.com

Илья
email: tm@rinevis.ru
тел: 8-981-834-62-72
№857055
Нет результатов, уточните запрос
Изображение
Цена 150 000 руб.
03, 05, 09, 10, 11,21, 35, 41,42, 44
классы МКТУ

Доступные доменные имена
fetlar.ru fetlar.net

Илья
email: tm@rinevis.ru
тел: 8-981-834-62-72
№644150
Изображение
Цена 200 000 руб. 

03, 05, 09, 11,21, 35, 41,42, 44
классы МКТУ

Доступные доменные имена
ovalis.ru ovalis.net ovalis.org

Илья
email: tm@rinevis.ru
тел: 8-981-834-62-72
Текст
№674387
Изображение
Цена 200 000 руб.
03,05, 09, 10, 11,21,35,41,42,44
классы МКТУ
Доступные доменные имена
albacore.ru

Илья
email: tm@rinevis.ru
тел: 8-981-834-62-72

№658485
Изображение
Цена 180 000 руб.
03, 05, 09(часть), 11, 21, 35, 41,42, 44
классы МКТУ


Илья
email: tm@rinevis.ru
тел: 8-981-834-62-72
№668517
Изображение
Цена 200 000 руб.
05, 09(часть), 10, 11,21, 41,42, 44
классы МКТУ


Илья
email: tm@rinevis.ru
тел: 8-981-834-62-72
№688866
Изображение
Цена 200 000 руб.
03, 05, 09, 10, 11,21, 35, 41,42, 44
классы МКТУ



Илья
email: tm@rinevis.ru
тел: 8-981-834-62-72
№696348
Изображение
Цена 2 500 000 руб.
43
класс МКТУ

Заявка на товарный знак
"Сеньор Шаурметто"

тел: 8-982-666-74-73
№2021779128
Нет результатов, уточните запрос
Изображение
Цена 200 000 руб.
01,02,03,04,06, 07,08,10, 11, 12, 13, 14, 15, 18, 19, 21, 23, 26, 27, 31, 34, 35, 36, 37, 38, 39, 40, 42, 43, 44, 45
классы МКТУ

Доступные доменные имена
planas.ru

Илья
email: tm@rinevis.ru
тел: 8-981-834-62-72
№671161
Изображение
Цена 200 000 руб. 

01,02,03,04,06, 07,08,10, 11, 12, 13, 14, 15, 18, 19, 21, 23, 26, 27, 31, 34, 35, 36, 37, 38, 39, 40, 42, 43, 44, 45
классы МКТУ

Доступные доменные имена
sancos.ru sancos.site

Илья
email: tm@rinevis.ru
тел: 8-981-834-62-72
№669181
Изображение
Цена 200 000 руб.
13, 14, 15, 16, 17, 22, 23, 24, 26, 27, 28, 31, 34, 43, 44, 45
классы МКТУ
Доступные доменные имена
Forseon.ru. Forseon.com

Илья
email: tm@rinevis.ru
тел: 8-981-834-62-72

№846087
Изображение
Цена 200 000 руб.
01, 02, 03, 04, 05, 08, 09, 10, 11, 13, 14, 15, 16, 19, 21,35, 23, 26, 27, 29, 30, 31, 32, 33, 34, 35, 38, 39, 40, 41, 42, 43, 44,45
классы МКТУ

Доступные доменные имена
lufter.org
Илья
email: tm@rinevis.ru
тел: 8-981-834-62-72
№846693
Изображение
Цена 200 000 руб.
01, 02, 03, 04, 05, 06(часть), 08, 09(часть), 10, 11, 12, 13, 14, 15, 16, 17, 18, 19, 20, 21, 22, 23, 25, 26, 27, 28, 29, 30, 31, 32, 33, 34, 35, 36, 37, 38, 39, 40, 41, 42, 43, 44, 45
классы МКТУ

Доступные доменные имена
ridicon.ru ridicon.org ridicon.net ridicon.site

Илья
email: tm@rinevis.ru
тел: 8-981-834-62-72
№628991
Изображение
Цена 250 000 руб.
03, 05, 09, 10,11,21,35,41,42,44
классы МКТУ

Доступные доменные имена
armila.ru armilla.ru

Илья
email: tm@rinevis.ru
тел: 8-981-834-62-72
№671269
Изображение
Цена 250 000 руб.
03, 05, 09, 10, 11,21, 41,42, 44
классы МКТУ


Илья
email: tm@rinevis.ru
тел: 8-981-834-62-72
№676426
Нет результатов, уточните запрос
Изображение
Цена договорная
30 , 33
классы МКТУ

Есть большая заинтересованность производителей данной продукции , под этими товарными знаками . Продукция под этими торговыми знаками , будет актуальна всегда .

8-913-628-98-98 , 8-923-686-29-29 .
Эл.почта : Shaganovvavan471971@mail.ru
№786878
Нет результатов, уточните запрос
Изображение
Цена договорная
32
классы МКТУ

Есть большая заинтересованность производителей данной продукции , под этими товарными знаками . Продукция под этими торговыми знаками , будет актуальна всегда .

8-913-628-98-98 , 8-923-686-29-29 .
Эл.почта : Shaganovvavan471971@mail.ru
№723034
Нет результатов, уточните запрос
Изображение
Цена 450 000  руб.
25,42
классы МКТУ
Бренд: EVALOVE
+ сайт www.evalovebrand.ru
Телефон: +7(925) 656-64-44
Эл.почта : al.s18@mail.ru
№833237
Нет результатов, уточните запрос
Изображение
Цена 500 000 руб.
25, 35
классы МКТУ

Цена указана за товарный знак, домен и фирменный стиль
Доменное имя: papama.ru и папама.рф
Фирменный стиль разрабатывался с нуля - полностью индивидуальный.
Подробнее можно посмотреть по ссылке: https://disk.yandex.ru/d/mgSJ3NFX98WtzQ
Ударение правильно ставить Папа́ма, название навеяно одноименным стихом Генриха Сапгира "Папа́ма"
Подойдет для производства или продажи любых детских и семейных товаров или услуг.

+79207408000 Николай
№571867
Изображение
Цена 200 000 руб. за класс
11, 14, 16, 20, 21, 24, 25, 28, 31, 35
классы МКТУ
next1976@inbox.ru, тел: 8-965-130-31-88
№821496
Изображение
Цена 500 000 руб.
30, 35, 39
классы МКТУ

№103525
Изображение
Цена Договорная
08, 16, 17, 20, 35
классы МКТУ

Тел. : 89214052262
e-mail: info@globalgroup-spb.ru
№803758
Изображение
Цена Договорная
18, 25
классы МКТУ

товарный знак: Алые Паруса

1) Продажа или Лицензионный договор.
2) Подойдет для производства и продажи одежды, обуви, изделий из кожи,кож. галантереи, аксессуаров и много др.
3) Соц. сети :
Инстаграмм: aparusaspb.ru
BK VK aparusaspb.ru
4) Доменные имена:
aparusa.spb.ru
aparusaspb.ru
5) Сайт : www.aparusaspb.ru
6) Детская одежда и школьная форма под брендом «Алые Паруса» была выведена в 2017 году и успешно продавалась на WB Wildberries
Контакты: +7(911) 1509707 (в приоритете whatsapp , telegram)
Email: ek1616@mail.ru
Елена Геннадьевна

№803758
Нет результатов, уточните запрос
Изображение
Цена 180 тыс.руб
01, 02, 03, 04, 06, 07, 08, 09, 10, 11, 12, 13, 14, 15, 16, 17, 18, 19, 20, 21, 22, 23, 24, 25, 26, 28, 31, 32, 33, 34, 37, 43, 44, 45
классы МКТУ товарного знака
Контакты продавца
email: tm@rinevis.ru
тел: +7(981)834-62-72
№942597
Нет результатов, уточните запрос
Изображение
Цена 180 тыс.руб
03, 02, 04, 06, 07, 08, 10, 11, 12,
13, 14, 15, 17, 22, 23, 24, 27, 29,
30, 32, 33, 36, 37, 39, 43, 44, 45
классы МКТУ товарного знака
Контакты продавца
email: tm@rinevis.ru
тел: +7(981)834-62-72
№903258
Нет результатов, уточните запрос

Вопрос-ответ

Что делать, если Вы не нашли подходящий товарный знак (бренд)?
Зарегистрируйте свой товарный знак (торговую марку). Цена услуг по подаче знака на регистрацию 5000 руб., пошлины за 1 класс МКТУ 10500 руб. со скидкой 30% за счет подачи знака через Патентного поверенного, зарегистрированного в ФИПС Роспатента. Возможна ускоренная регистрация товарного знака (бренда) в ФИПС Роспатента за 2 месяца, тариф (пошлина) Роспатента 95500 руб.
Нужно ли регистрироваться на нашем сервисе?
Регистрация не требуется. Вы можете объявления всех продавцов, которые выставили знаки на продажу и их реальные контакты в свободном доступе без посредников. Если у Вас возникнут вопросы по классам МКТУ, вопросам передачи (покупки) или использования товарных знаков (торговых марок) и другим нюансам, то Вы всегда можете получить консультацию по тел.+7(985)938-38-72 (WhatsApp) или email: info@ptn.su
Что такое классы МКТУ?
Подробнее см. на сайте MKTU.pro
Доска объявлений
Продажа зарегистрированных (готовых) торговых марок, товарных знаков, патентов, логотипов, этикеток, дизайна и других объектов интеллектуальной собственности
Подробнее см. на сайте MKTU.pro

FAQ

Не нашли нужный знак?
Подайте заявку на свой товарный знак за 900 руб. (Антикризисное Предложение)
Биржа Аукцион Купить Продать товарный знак торговую марку бренд патент. Подобрать готовый товарный знак. Сервис
Ozon Wildberries Озон Вайлдберриз
Купить Продать готовый Товарный знак, Торговую марку, Торговый знак, Товарную марку, озон, вайлдберис, ВБ, маркетплейсы, Магазин товарных знаков
Еда Напитки Алкоголь Техника Кафе Рестораны
Подать объявление о продаже товарного знака, торговой марки логотипа, этикетки, патента
Продажа товарных знаков (торговых марок)
Информация для продавцов
Информация для покупателей
Зарегистрированные (готовые) товарные знаки (торговые марки, бренды, логотипы) патенты
выставленные на продажу
Здесь можно бесплатно разместить объявление о продаже или покупке вашего зарегистрированного в России или за рубежом товарного знака - российского или иностранного международного знака (патента, торговой марки)
Купить готовый торговый бренд - торговый знак

О главном

Бесплатная проверка. Поэтапная оплата после оказания услуг.
Подача заявки через личный кабинет патентного поверенного со скидкой на пошлины 30%. Отправка на Ваш email всех уведомлений Роспатента.

Комплексная проверка Вашего знака на оригинальность по базам российских знаков и базам международных товарных знаков, действующих на территории РФ на нашем сайте iqin.ru/masters

Предварительный анализ рисков отказа в выдаче знак а по ст.1483 ГК РФ ч.4 перед подачей знака на регистрацию.

Оплата услуг через 7 дней после подачи знака на регистрацию и публикации информации о знаке на официальном сайте ФИПС Роспатента fips.ru.

Оплата первой пошлины со скидкой 30% от 10500 руб. в течение 2-х месяцев после подачи заявки на регистрацию .

@Подача знака на регистрацию 2500 руб.

@Ведение делопроизводства (переписки) с Роспатентом до решения о выдаче знака 2500 руб.

Оформление закрывающих документов 5000 руб.

Нет скрытых платежей и навязанных услуг. Все Ваши возможные затраты, в том числе госпошлины указаны в этом объявлении.

★ПРОВЕРКА, ПОДАЧА ЗНАКА НА РЕГИСТРАЦИЮ И ВЕДЕНИЕ ДЕЛОПРОИЗВОДСТВА ПО ЗАЯВКЕ ЗА 5000 руб.
★ОПЛАТА ПОСЛЕ ПУБЛИКАЦИИ ЗНАКА НА САЙТЕ ФИПС РОСПАТЕНТА. 100% гарантия возврата средств.
★СКИДКИ НА ВСЕ ГОСПОШЛИНЫ 30%

★"Минимальный пакет" услуг по получению товарного знака составляет 2500 руб.
★"Оптимальный пакет" услуг (подходит большинству клиентов) составляет 10000 руб.
★"Максимальный пакет" услуг включает все возможные опции и составляет 15000 руб.*
**Цены указаны без учета госпошлин. Информацию о пошлинах см.ниже
Если нет времени ждать, то мы можем предложить готовые товарные знаки (есть доступная бесплатная доска объявлений, желающих продать свои знаки).

Перед подачей знака он проходит проверку по базе зарегистрированных в РФ знаков и, если будет выявлены значительные риски отказа, то мы сообщим Вам об этом и предложим модифицировать знак или вместе подумаем над другим названием и/или логотипом.

Что мы можем Вам предложить?
★Оплата после подачи знака и публикации заявки на сайте ФИПС Роспатента.
★100% Гарантия возврата Ваших средств в течение 5 дней после оплаты без объяснения причин
★Скидки на пошлины Роспатента 30%.
★Направление всех уведомлений Роспатента на ваш email, одновременно мы получаем уведомления в кабинет Патентного поверенного. Таким образом Вы можете контролировать делопроизводство по заявке.
★ Есть большой практический опыт консультирующих Патентных поверенных. Мы окажем подробные бесплатные консультации по всем вопросам, связанным с регистрацией и использованием знаков.
★ Индивидуальный доброжелательный подход к каждому Клиенту.
★ При необходимости можно осуществить быструю подачу знака (в течение 30-60 мин). Но мы не рекомендуем торопиться и выбираем классы МКТУ (виды деятельности) и тщательно проверяем знак на оригинальность, чтобы избежать отказа в выдаче знака.
★ Портфолио зарегистрированных знаков и патентов
★ Работа по договору
★ Практический опыт Патентных поверенных от 15 лет (ООО "Патентные Технологии")

1 этап.
100% бесплатная классификация знака (лого, марки, бренда, этикетки и т.д.) по международному классификатору товарных знаков (МКТУ)
2 этап.
100% бесплатная полная проверка по базам зарегистрированных в России товарных и международных знаков (торговых марок) .
Анализ других причин отказа в соответствии со ст. 1483 ГК РФ ч.4, анализ информации об использовании в Интернете, фирменных наименованиях, доменных именах.
и действующим на территории РФ международным товарным знакам, а также проверку названия и/или изображения в Интернете.
Хотите полностью бесплатно проверить Ваш знак самостоятельно или проверить качество нашего поиска. Свяжитесь с нами и мы объясним как это сделать быстро и без затрат. Подробнее на сайте.
3 этап.
Подача заявки в случае если проверка не выявила идентичных или сходных знаков. Либо доработка* названия (бесплатно), если проверка выявила риски отказа и знак можно немного изменить, чтобы снизить риски отказа в выдаче.
4 этап. После подачи заявки Вам на email поступает уведомление о принятии заявки из ФИПС Роспатента. Через 3-7 дней заявка публикуется на сайте ФИПС Роспатента в открытом доступе и ее можно найти по десятизначному уникальному номеру в уведомлении.
5 этап. 100% Гарантии. Оплата наших услуг - 5000 руб.. Вы оплачиваете наши услугу по подачи на регистрации заяви не сразу, а после получения уведомления из Роспатента с уникальным номером заявки (1-24 час после подачи) и публикации информации о заявке (через 2-5 дней) на официальном сайте ФИПС Роспатента.

6 этап. Оплата госпошлин со скидкой 30% за счет подачи заявки патентным поверенным через личный кабинет на сайте Роспатента.
Базовая пошлина за 1 класс МКТУ составляет 15000 руб., а со скидкой 30% 10500 руб. Пошлины оплачиваются на реквизиты Роспатента в течение 2 мес. после подачи заявки., после чего нам предоставляется копия платежного документа, который мы должны переслать в Роспатент

*Доработка знака. Бывают такие ситуации, когда найдены сходные знаки или выявлены иные причины для отказа в выдаче знака, описанные в ст. 1483 ГК РФ.4 знака. Мы помогаем скорректировать знак так, чтобы устранить причины для отказа или свести риски отказа в выдачи знака к минимуму (услуга входит в 5000 руб.). Если выявлены существенные риски для отказа и доработать знак без изменения его сути не представляется возможным, то мы можем помочь с разработкой нового знака (неймингом).

Какие еще возможны услуги?
Перечисленные ниже дополнительные возможные услуги являются опциональными по выбору Клиента.
1. Составление мотивированного ответа на отказной запрос* экспертизы Роспатента - 5000 руб.
2. Оформление закрывающих документов после решения о выдаче заявки- 5000 руб.

Значит ли это что Клиенту обязательно их оплачивать после подачи заявки на регистрацию?
Услуги полностью опциональны(см. инфо ниже)

Отказной запрос экспертизы, к сожалению, возможен, даже при качественном поиске, т.к. эксперты Роспатента могут противопоставить совершенно непохожие на Ваш знак чужие знаки, фирменные наименования, доменные имена, сайты, географические названия и т.д. Однако, отказной запрос не приговор, и при грамотном ответе знак удается отстоять более чем в 70% случаях.

По большинству заявок (более 90%) с хорошим предварительным поиском отказных запросов не поступает, поэтому большинству наших Клиентов данная услуга (ответ на запрос) не потребуется.
Если отказного запроса не поступает то приходит решение о выдаче знака, после чего Вам нужно будет оплатить вторую часть пошлин 12700 руб. (со скидкой 30%) которые обеспечат поддержание знака в силе на территории РФ сроком на 10 лет.

Оформление закрывающих документов также полностью опциональная услуга, которая включает в себя проверку (сверку) перечня товаров и услуг в решении о выдаче, оплату и оправку документов о пошлине, письма-согласия с выдачей свидетельства. Данные действия Вы можете осуществить самостоятельно или с помощью вашего бухгалтера, при необходимости мы дадим бесплатные консультации как сделать грамотно перечисленные операции. А если нет времени, то можете заказать нам за 5000 руб.

Бесплатные полные консультации по любым вопросам связанным с регистрацией и использованием товарных знаков, патентов и авторских прав в России и за рубежом.

Регистрируем знаки, в том числе Товарные знаки для маркетплейсов: Ozone и Wildberries (WB), Яндекс.Маркета, Сбер Мега Маркета и других.

В чем отличия бренда от товарного знака и торговой марки

Посмотрите наглядное видео, если не хотите читать текст
Изображение

Оставьте заявку, заполнив форму ниже и получите полностью бесплатную консультацию и
бесплатный экспресс-поиск от


Вы можете задать любой вопрос про интеллектуальную собственность - патенты, товарные знаки, авторские права, лицензионные договоры, франшизу, судебные и досудебные споры и многое другое (список открытый).